Safety label check
Use this topic to check for safety labels.
Go to the section for the rack model you are installing:
- Model 941, 94E, go to Section-1 Check safety labels for Model 941, 94E.
- Model 951, 95E, go to Section-2 Check safety labels for Model 951, 95E.
- Model 961, 96E, go to Section-3 Check safety labels for Model 961, 96E.
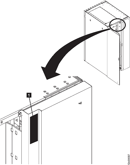
is installed on the right rear cover
of the rack. See 



is installed on the inner wall (right
side). See
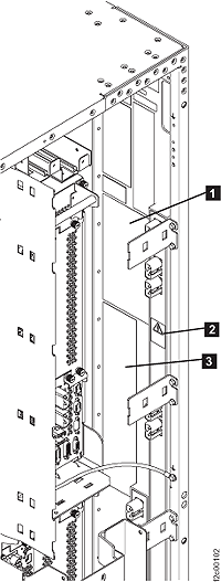
is installed on the 208VDC bus bar
assembly. See 













